
提升高度:80m
材质:不锈钢,碳钢,耐磨钢,高强度合金钢
类型:环链式,链板式
处理量:500t
适用物料:大规模垂直输送散装物料,能够输送石灰石、熟料、化肥、干粘土等物料
该产品具有输送量大,提升高度高,运行平稳可靠,寿命长显著优点,提升机适用于各种粉末状,细粒和粗粒物料的垂直输送。

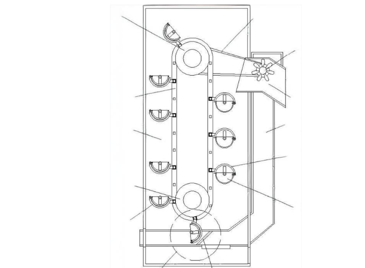
料斗把物料从下面的储藏中舀起,随着输送带或链提升到顶部,绕过顶轮后向下翻转,斗式提升机将物料倾入接受槽内。带传动的斗式提升机的传动带一般采用橡胶带,装在下或上面的传动滚筒和上下面的改向滚筒上。链传动的斗式提升机一般装有两条平行的传动链,上或下面有一对传动链轮,下或上面是一对改向链轮。斗式提升机一般都装有壳板,以防止斗式提升机中粉尘飞扬。

1,头轮覆胶,能有效防止畚斗带打滑及跑偏,减少动力消耗。
2,机座增设缓冲装置,可减少振动防止提升量突增或较大异物入内使畚斗带断裂,同时在一定限度内自动调节畚斗带张紧力。

3,可选配置止逆机构,高度较高时(>20米)可防止物料倒灌造成提升机堵塞。
4,提升管采用咬边结构,是密封更加可靠,杜绝粉尘外泄。

斗式提升机机首部件:它由上部机壳,主动轴部件,减速机、连轴器、电机等组装成一体。斗式提升机中部机壳:根据需要提升的高度、配置不同数量的中部机壳迭加起来既能满足需要。斗式提升机下部部件:它由底部机壳,从动轴部件及张紧装置结成一体。机壳侧面有门可以打开,对其内部进行检查如清扫。
斗式提升机链条及料斗:链条为圆钢连接环链。料斗用螺母定在链条的接头上。不同高度的斗提机现套相应数量的链条、接头、及料斗。
